产品中心

匠心 服务 创新 品质

向下滚动
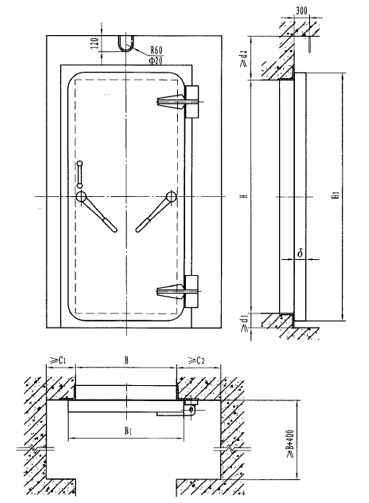
钢结构单扇防护密闭门

此类门的特点是具有固定门槛,门扇为梁板结构。

型号 门孔宽B 门孔高H 门扇厚δ B1 H1 C1 C2 D1 D2
GFM0716(6) 700 1600 112 900 1646 250 450 30 300
GFM0818(6) 800 1800 112 1000 1846 250 400 30 300
GFM0820(6) 800 2000 112 1000 2046 250 400 30 400
GFM0825(6) 800 2500 116 1000 2623 250 400 50 400
GFM0920(6) 900 2000 112 1100 2046 250 400 30 300
GFM1020(6) 1000 2000 112 1200 2046 250 400 30 300
GFM1220(6) 1200 2000 138 1400 2046 250 450 30 400
GFM1320(6) 1300 2000 132 1500 2046 250 400 50 400
GFM1520(6) 1500 2000 132 1700 2123 250 400 50 400
GFM1720(6) 1700 2000 156 1900 2123 300 500 150 400
GFM2020(6) 2000 2000 156 2240 2240 300 500 150 400
GFM2025(6) 2000 2500 176 2300 2800 300 700 200 700
GFM0606(5) 600 600 60 800 800 250 450 120 300
GFM0716(5) 700 1600 116 900 1646 250 450 30 300
GFM0818(5) 800 1800 116 1000 1846 250 450 30 300
GFM0820(5) 800 2000 116 1000 2046 250 450 30 300
GFM0912(5) 900 1200 156 1100 1246 250 450 30 300
GFM0918(5) 900 1800 156 1100 1846 250 450 30 300
GFM0920(5) 900 2000 156 1100 2046 250 450 30 300
GFM1020(5) 1000 2000 156 1300 1846 250 450 30 300
GFM1118(5) 1100 1800 156 1300 1846 250 400 30 300
GFM1220(5) 1200 2000 156 1400 2046 250 450 30 300
GFM1221(5) 1200 2100 156 1400 2146 250 450 30 300
GFM1320(5) 1300 2000 156 1500 2046 250 400 30 400
GFM1321(5) 1300 2100 156 1500 2223 250 400 50 400
GFM1520(5) 1500 2100 156 1700 2123 250 500 50 400
GFM1521(5) 1500 2100 156 1700 2223 250 500 50 400
GFM1721(5) 1700 2100 156 1940 2146 250 450 50 400
GFM2020(5) 2000 2000 156 2240 2046 300 500 50 400
GFM2021(5) 2000 2100 156 2240 2146 250 450 50 400
GFM2025(5) 2000 2500 156 2240 2546 250 450 30 300